Precision Indexable’s Innovative Multi-Tooth Boring System

  • Proven, cost-effective alternative to “high performance” reamers

  • Compact yet robust design capable of adjustments in microns for superior precision

  • Utilizes multiple indexable carbide inserts to boost productivity

Wedge Bore creates value by eliminating the need for tools in the crib, in transit, and at a service center waiting to be re-tipped or re-ground. The cutting edges and components can be changed and reset on site with hand tools and a tool setter. If the inserts or cartridges are damaged they can be replaced in your shop. The overall quantity of tools needed to supply your production line is minimized.

WEDGE BORE PATENTED

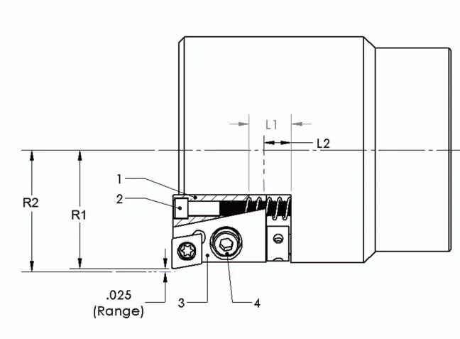
  1. Tightening screw (#2) moves wedge (#1) against inclined plane of cartridge (#3).

  2. Tighten screw (#4) after adjustment of size is achieved.

Note: Loosen screws (#2 and #4) to reset, then repeat steps above to set for a smaller size.Tightening screw (#2) moves wedge (#1) against inclined plane of cartridge (#3).


SPECIFICATIONS

Wedge Bore offers the best value in the industry for bores with tolerances of ±50 microns.

WEDGE TURN

Wedge TurnTM has the same hardware and patented design as our Wedge Bore® System. These are the most compact micro-adjustable turning tools on the market! Designs can allow multiple features to be machined with one tool…Let your imagination be the guide!


WEDGE GROOVE

Wedge Groove uses the same patented adjustment system as the Wedge Bore. It allows multiple grooving cutters to be precisely set to eliminate time consuming cutter grinding.